Zawór wodny KFA Armatura, żeliwo GW 2 1/2'' x GW 2 1/2''
Zawór przepływowy żeliwny 2 1/2
Informacje dodatkowe
- Kolekcja: zawory przelotowe żeliwne
- Norma: PN-EN 1562
Parametry techniczne
- Element sterujący: głowica wzniosowa
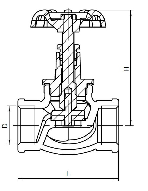
- L [mm]: 175
- Uchwyt: pokrętło
- Powierzchnia: śrutowana
- Przyłączenie: nakrętno-nakrętne
- H [mm]: 190
- Przelot: pełnoprzepływowy
- Wymiar D: 2 1/2
- Długość [mm]: 140
Dane techniczne
Działanie/napęd
Ręczny
Materiał baterii
Żeliwo
Mechanizm zamykający
Sworzeń nieceramiczny
Nominalna średnica wewnętrzna odpływu
2 1/2''
Rodzaj połączenia odpływu
Gwint wewnętrzny
Rodzaj połączenia zasilającego
Gwint wewnętrzny
Rozmiar połączenia zasilającego
2 1/2''
Z uchwytem
Tak
Dane logistyczne
Opakowanie zbiorcze 1
Jednostka zbiorcza opak.
opak
Masa brutto [kg]
5,04
Długość [m]
0,26
Szerokość [m]
0,21
Wysokość [m]
0,155








