Instalatorze, możesz zamówić kotły Vaillant ecoTEC pro za punkty PIK!
 

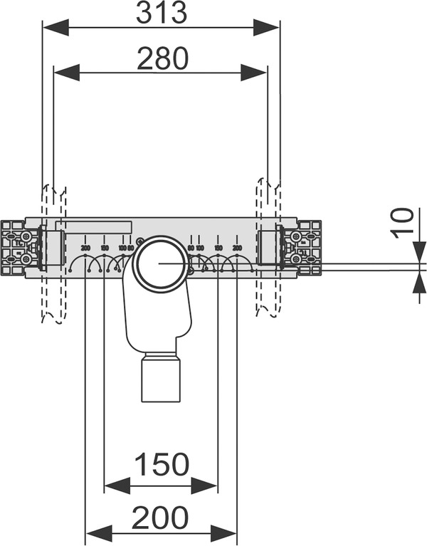
Trawers montażowy pod umywalkę o rozstawie otworów mocujących 280 mm, z syfonem podtynkowym TECE profil

Kod IK

J19020034

Kod EAN

4027255005372

Kod producenta

9020034

Marka

TECE

Model

profil

Cena katalogowa netto

381,36 zł / szt.

Cena katalogowa brutto

469,07 zł / szt.

TECEprofil element przyłączeniowy pod umywalkę, z syfonem podtynkowym
Trawers ze stali ocynkowanej z izolacją akustyczną, do montażu kolan naściennych, z zamontowanym syfonem podtynkowym DN 50, wyjmowanym wkładem syfonu NW 30 (służącym jednocześnie jako uszczelka), zatyczką ochronną, materiałami mocującymi do montażu na kształtownikach TECEprofil, 2 x zaciski mocujące M 10 i mocowania umywalkowe.

Dane techniczne

Rodzaj akcesorium

Trawers montażowy pod umywalkę o rozstawie otworów mocujących 280 mm, z syfonem podtynkowym