Instalatorze, możesz zamówić kotły Vaillant ecoTEC pro za punkty PIK!
 

TECEdrainline - Stopki montaż. z izolacją dźwiękową kpl. 4 szt.

Kod IK

J1660003

Kod EAN

4027255022591

Kod producenta

660003

Marka

TECE

Model

drainline

Cena katalogowa netto

107,71 zł / szt.

Cena katalogowa brutto

132,48 zł / szt.

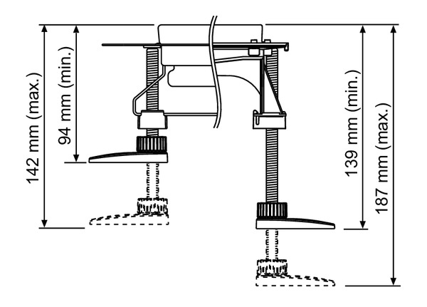
TECEdrainline stopki montażowe
Stopki montażowe do prostej regulacji wysokości i mocowania korpusu rynny przy montażu na stropie surowym.
Składają się z:
4 X stopki montażowe z elementem dźwiękochłonnym i materiałami montażowymi