Instalatorze, możesz zamówić kotły Vaillant ecoTEC pro za punkty PIK!
 

Konwektor Kermi V-Konvektor Typ54 BH70x255x4000mm QN4100, weiß, 6 bar, m. Abd., Vent. re

Kod IK

29KNV540074002R1K

Kod EAN

4051487204494

Kod producenta

KNV540074002R1K

Marka

KERMI

Model

KNV54

Cena katalogowa netto

5 425,76 zł / szt.

Cena katalogowa brutto

6 673,68 zł / szt.

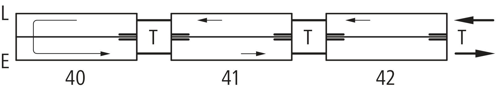
Konwektor zaworowy Kermi KNV. Z kompletną, zintegrowaną armaturą zaworową. Pomieszczenia o dużych powierzchniach przeszklonych wymagają szczególnych rozwiązań dotyczących ogrzewania. Konwektory zaworowe Kermi sprawdzają się tu idealnie. Eleganckie, niewielkich rozmiarów, o bardzo dużej mocy grzewczej – doskonale dopasowują się również do wystroju wnętrza. To znakomite połączenie atrakcyjnego wzornictwa i optymalnej możliwości regulacji mocy cieplnej. Dzięki zintegrowanej armaturze zaworowej przewody zasilania i powrotu nie przebiegają obok konwektora. Wpływa to pozytywnie na wygląd konwektora, pozwala także skrócić czas montażu.